Change Language :
So wird die Länge der Energieketten für lineare Bewegung berechnet:
Zunächst legen Sie den Festpunkt, also die position des unbeweglichen Anschlusses einer Energiekette, fest. Wir empfehlen den Festpunkt in die Mitte des Verfahrwegs zu legen. So erhalten Sie kostengünstigste Lösung, da weniger Energiekette und meistens auch weniger Leitung benötigt wird. Natürlich ist es auch möglich den Festpunkt außerhalb der Mitte des Verfahrwages zu legen.
Hinweis: Der Festpunkt in der Mitte des Verfahrwegs ist immer die günstigste Lösung

Bei freitragenden Anwendungen verfährt das Obertrum der Energiekette über den gesamten horizontalen Verfahrweg parallel zum Untertrum.
Bei Festpunkt in der Mitte des Verfahrweg: Lk = S/2 + K
| Abkürzung | Bedetung | Einheit |
|---|---|---|
| Lk | Länge der Energiekette | [mm] |
| S/2 | Halber Weg | [mm] |
| K | Zuschlag für Biegeradius bei der e-ketten® Längenberechnung | [mm] |
| R | Biegeradius | [mm] |

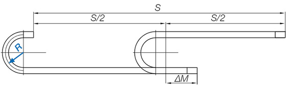
Bei Festpunkt außerhalb der Mitte des Verfahrwegs: Lk = S/2 + ∆M +K
| Abkürzung | Bedetung | Einheit |
|---|---|---|
| Lk | Länge der Energiekette | [mm] |
| S/2 | Halber Weg | [mm] |
| K | Zuschlag für Biegeradius bei der e-ketten® Längenberechnung | [mm] |
| ∆M | Abweichung von der Mitte | [mm] |
| R | Biegeradius | [mm] |

A = Mitnehmer
B = Festpunkt
C = Führungsrinne mit Gleitschiene
D = Führungsrinne ohne Gleitschien
E = Gesamtlänge Führungsrinne
Bei der gleitenden Energieführung gleitet die Energiekette auf der einen Hälfte auf dem Untertrum und auf der anderen Hälfte auf einer Gleitschiene.
Bei Festpunkt in der Mitte des Verfahrweg: Lk = S/2 + K2
| Abkürzung | Bedetung | Einheit |
|---|---|---|
| Lk | Länge der Energiekette | [mm] |
| S/2 | Halber Weg | [mm] |
| K2 | Zuschlag für Biegeradius bei heruntergesetztem Anschlusspunkt | [mm] |
| ∆CL | Versatz Festpunkt | [mm] |
| R | Biegeradius | [mm] |
| D2 | Überstand bei langen Verfahrwegen gleitend | [mm] |
| H2 | Einbauhöhe bei heruntergesetztem Mitnehmer | [mm] |
| HRi | Führungsrinneninnenhöhe | [mm] |

Die erforderliche Einbauhöhe ist abhängig von der Vorspannung der Energiekette mit dem Gesamtwert HF. Das Maß HF finden Sie auf den Produktseiten.
| Abkürzung | Bedetung | Einheit |
|---|---|---|
| H | Nominale Einbauhöhe | [mm] |
| HF | Erforderliche Einbauhöhe | [mm] |

Mit dem Energieketten-Konfigurator "e-ketten Experte“ stellen Sie sich in wenigen Schritten Ihr individuelles anschlussfertiges Energiekettensystem zusammen.

Video-Beratung per Microsoft Teams:
Buchen Sie Ihren Termin für eine Video-Beratung per MS Teams hier.
Chat-Service:
Montag – Donnerstag: 8 – 17 Uhr
Freitag: 8 – 16:30 Uhr
Persönlich:
Montag – Donnerstag: 8 – 17 Uhr
Freitag: 8 – 16:30 Uhr